El futuro de las motos es eléctrico: Honda patenta una CB125R alimentada por baterías

Honda acaba de patentar un nuevo diseño para una moto eléctrica de estilo neo sport café, aparentemente basado en la CB125R.

Lejos quedaron los diseños futuristas de las motos eléctricas, donde todos pensamos que las motos con motores impulsados por baterías serían piezas escapadas de las películas de ciencia ficción; pero no, o al menos eso es lo que nos quiere demostrar la marca del ala dorada con esta CB125R eléctrica.

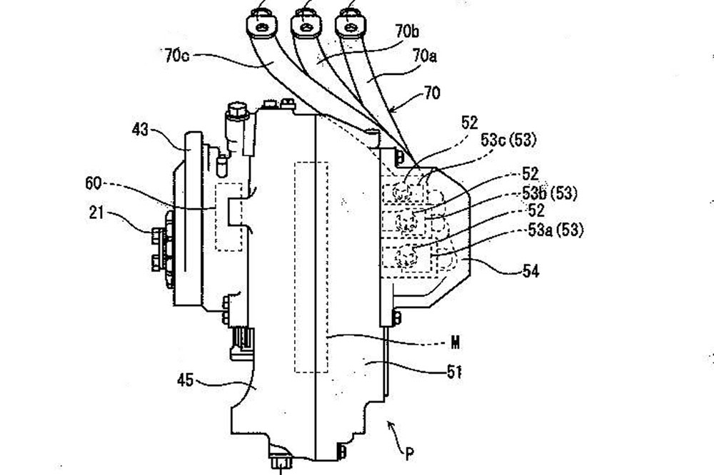
Según el medio Visor Down, las patentes que se registraron, muestran una moto completamente terminada, a diferencia de muchos diseños que se patentan, donde sólo se detallan algunas partes del vehículo. Esto nos llevaría a pensar que la moto como tal, ya debe existir dentro de algún recoveco de la planta de Honda, y que evidentemente le resultó más sencillo a la gente de diseño partir de una moto terminada para implantarle todo el sistema de propulsión eléctrico que partir de un concepto totalmente nuevo. Tal vez un tema de costos y tiempos, para ganar la carrera hacia la electrificación.

Yendo a la moto en sí, el corazón corresponde a un pequeño y por ende liviano motor eléctrico. La pauta que deja ver que estamos frente a un pequeño motor, lo dan algunas de las partes que se ven en los diseños. Si nos fijamos en el tamaño de la rueda dentada de la unidad (arriba) casi se puede visualizar el tamaño del motor terminado, poniéndolo sobre el tamaño de un plato de comida. De hecho, todo el motor es extremadamente estrecho, lo que lo hace fácil de colocar en el angosto chasis de esta Honda 125.

El resto de la moto, como suspensiones, chasis y sistema de frenos, se ve idéntico al de la versión a nafta. Obviamente habrá pequeñas adaptaciones en el bastidor para encajar el motor eléctrico y principalmente las baterías.

Tal como sucede en estos casos donde se filtran diseños, no existen datos ni otras especificaciones sobre la moto, como prestaciones, capacidad del motor y/o de las baterías, pero lo que sí es seguro, que un motor eléctrico en esta pequeña Honda CB125R, le daría mucha más potencia y torque que la versión naftera; algo que también puede llegar a ser un problema para un chasis diseñado para un motor con poco torque, pero seguramente los muchachos de Honda se las rebuscarán para que el combo funcione sin problemas.

Si bien no se conocen fechas de lanzamiento al mercado, yo no creo que pase mucho tiempo hasta que esta versión eléctrica vea la luz; máxime teniendo en cuenta que Honda está partiendo de una moto existente; algo similar a lo que hizo con la PCX Hybrid, por lo que en cualquier momento podríamos tener noticias de esta pequeña eléctrica urbana.

1 respuesta

  1. Liliam Rodriguez dice:

    Me interesan los departamentos

Deja una respuesta

Tu dirección de correo electrónico no será publicada. Los campos obligatorios están marcados con *